Нормально открытые клапаны применяются в системах общеобменной вентиляции, кондиционирования и воздушного отопления в целях предотвращения проникновения по воздуховодам в помещения огня, продуктов горения (дыма) во время пожара, а также в приточных и вытяжных системах помещений, защищаемых установками газового, аэрозольного или порошкового пожаротушения. Устанавливать клапаны следует в проемах, ограждающих строительных конструкций, с нормируемыми пределами огнестойкости или с любой стороны указанных конструкций, обеспечивая предел огнестойкости воздуховода на участке от поверхности ограждающей конструкции до заслонки клапана, равный нормируемому пределу огнестойкости этой конструкции (Согласно пункта 6.11 Свода Правил 7.13130.2013 «Отопление, вентиляция и кондиционирование. Противопожарные требования»).
Клапаны сертифицированы в соответствии с требованиями технического регламента Евразийского экономического союза «О требованиях к средствам обеспечения пожарной безопасности и пожаротушения» (ТР ЕАЭС 043/2017).
Описание НО
Типы клапана:
- К - канальный
- С - стеновой
- КС - канальный без вылета заслонки за лицевую сторону
- КЛ - канальный многостворчатый
- СЛ - стеновой многостворчатый
- УВ-К - канальный с уменьшенным вылетом заслонки
- УВ-С - стеновой с уменьшенным вылетом заслонки
Опции:
- К - клеммная коробка
- РК - клеммная коробка (распаячная)
- МС - морозостойкое исполнение
- МС (ГК) - морозостойкое исполнение + греющий кабель по периметру
- МС (УП) - морозостойкое исполнение + греющий кабель по периметру + греющий кабель на приводе
- ТРУ TS - терморазмыкающее устройство
- AISI - коррозионностойкое исполнение (любая марка нерж.стали)
- 1*D(A-B)/2*D(A-B) - переходник с прямоугольного клапана на круглый клапан
Предел огнестойкости клапанов:
- в режиме нормально открытого
Двигательные механизмы, применяемые на клапанах НО:
- Электропривод BELIMO реверсивный
- Электропривод AIRS реверсивный
- Электропривод BELIMO с возвратной пружиной
- Электропривод AIRS с возвратной пружиной
- Электромагнитный привод
220/24 В - выбор на все приводы
Клапан противопожарный нормально открытый КПП состоит из:
- корпуса, изготовленного из оцинкованной стали толщиной 1 мм
- огнеупорных одной или нескольких заслонок из негорючих минеральных материалов и привода, расположенного снаружи или внутри корпуса.
Корпус, в зависимости от огнестойкости и исполнеия клапана имеет глубину от 200 мм до 250 мм и конструктивно аналогичен отрезку воздуховода такой же длины. Фланцы на канальных клапанах шириной 30 мм., на стеновых клапанах 45 мм. Заслонки по типу многослойный сэндвич изготавливается из огнеупорной плиты с двух сторон закрытой оцинкованными металлическими листами.
Корпус стенового клапана, в зависимости от исполнения, имеет глубину от 160 мм до 250 мм. В качестве уплотнителя используется противопожарный уплотнитель (термоактивная лента), которая герметизирует клапан, при воздействии температуры свыше 140°С.
В качестве дублирующих элементов в составе привода заслонки могут использоваться термочувствительные элементы - ТРУ. При нагревании до 72 °С устройство срабатывает, размыкая электрическую цепь и закрывая заслонку.
Клапан КПП нормально открытые канального типа прямоугольного сечения сохраняют работоспособность вне зависимости от пространственной ориентации, но при условии горизонтального расположения оси вращения их лопаток. Клапаны стенового типа сохраняют работоспособность только при вертикальной установке. Пространственная ориентация клапана при его установке должна быть указана при заказе.
Клапаны КПП НО стенового исполнения:
- СЛ - стеновой многостворчатый
- УВ-С - стеновой с уменьшенным вылетом заслонки
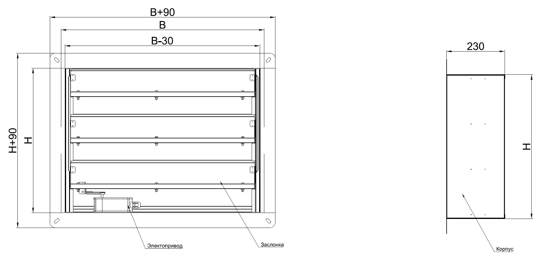
Клапан противопожарный КПП 90(120)-НО(СЛ)
Модификация клапана:
многостворчатые стенового исполнения с одним фланцем для крепления к стене, где отсутствует вылет заслонок за пределы корпуса
Чертеж клапана EI 90
Чертеж клапана EI 120
Технические характеристики НО
Пример заказа НО


*При комплектации периметрального обогрева и утепления привода нанесение специального морозостойкого состава по умолчанию